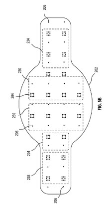
A quanto pare anche la società di Cupertino ha aver volto l’attenzione sui display flessibili. Naturalmente questa nuova tecnologia non verrà integrata sugli smartphone (al momento non abbiamo conferme) a differenza della concorrenza, bensì sui prossimi smartwatch. Apple ha depositato un brevetto agli uffici del WIPO, e da quello che emerge dal documento sembrerebbe che la sua intenzione sia quella di integrare una sorta di pannello MicroLED che ha come finalità quella di ricoprire non solo il quadrante, ma anche un’enorme porzione dell’intero dispositivo indossabile.
Questa sorta di schermo pieghevole andrebbe a interessare addirittura alcune parti del cinturino, e questo potrebbe rivoluzionare il modo di utilizzare l’Apple Watch. Inoltre il pannello suddetto sarebbe caratterizzato da diversi moduli, ognuno avente informazioni diverse. Se così fosse, si avrà la possibilità non solo di interagire con il quadrante come del resto è sempre stato, ma attraverso questa nuova innovazione si potranno ottenere informazioni aggiuntive su alcune parti del cinturino.
Apple sta dimostrando una grande attenzione verso questa nuova tecnologia, anche perchè sono alcuni anni che la società pensa di poter integrare questa rivoluzione sui suoi prodotti, ma c’è da dire che al momento non giungono conferme in merito a quanto detto sugli Apple Watch. Ricordiamo ai gentili lettori inoltre, che spesso i brevetti sono fini a sè stessi, per cui non sempre vengono sviluppati.




Tech for Dummies